Подготовка к разборке электродвигателя
Перед началом разборки электродвигателя нужно провести подготовительные работы:
- Отключить электродвигатель от сети и механизма привода
- Зафиксировать взаимное расположение деталей маркировкой или фотографированием
- Подготовить инструмент, приспособления и материалы
- Определить тип двигателя и наличие технической документации по нему
Перед разборкой обязательно нужно отключить подачу напряжения к обмоткам электродвигателя и механически отсоединить его от приводимого механизма (снять с вала шкив, муфту, шестерню и т.п.).
Чтобы облегчить последующую сборку, необходимо нанести риски или до разборки сфотографировать взаимное расположение основных узлов и деталей. Особенно тщательно нужно зафиксировать положение ротора относительно статора.
Для разборки потребуются различные инструменты - отвертки, плоскогубцы, съемники, стропы. Заранее подготовьте все необходимое.
Определите тип электродвигателя - асинхронный, коллекторный, синхронный. Найдите техническую документацию, чертежи, схемы, где указана конструкция и порядок разборки.
Особенности разборки коллекторных электродвигателей
Разборка коллекторных двигателей отличается тем, что вначале нужно демонтировать щеточный аппарат и отсоединить обмотку якоря от пластин коллектора. Как правило, здесь применяют следующую последовательность:
Снять щеткодержатель, извлечь щетки. Обмотку якоря отпаивают от коллектора. Коллектор оборачивают электрокартоном и стягивают бандажом. Затем уже вынимают ротор из статора.
После этого коллектор стягивают с вала в сборе со стальной втулкой. Если нужно заменить втулку, то снимают ее отдельно. На этом разборка коллекторной машины завершается.
Техника безопасности при разборке электродвигателя
Разборка электродвигателей требует строгого соблюдения правил техники безопасности.
- Используйте инструменты с изолированными ручками
- Надевайте диэлектрические перчатки и обувь
- При подъеме тяжелых узлов применяйте грузоподъемные механизмы и стропы
- Следите, чтобы ротор при выемке не задевал обмотку статора
При соблюдении мер предосторожности можно избежать поражения электрическим током и получения травм при падении узлов или попадании под вращающиеся части.
Общая разборка
Общая разборка проводится в порядке, обусловленном особенностями конструкции электродвигателей. Последовательность разборки электродвигателей малой и средней мощности, имеющих подшипниковые щиты с подшипниками качения или скольжения состоит в выполнении следующих операций:
Снятие с вала электродвигателя полумуфты
Снятие с вала электродвигателя полумуфты, шкива или шестерни, соединяющих его с производственным механизмом. Эту операцию проводит персонал цеха, который эксплуатирует двигатель. Для облегчения съема этих деталей применяют стяжные приспособления. В случаях, когда максимального усилия приспособления недостаточно для съема детали, применяют её подогрев. Полумуфту прогревают быстро интенсивным пламенем газовой горелки, начиная с наружного обода. При нагреве полумуфты необходимо обеспечить разность температур между валом и полумуфтой не менее 100 °С. Ступицу полумуфты прогревают последней;
Снятие подшипниковых щитов
Снимают крышки смотровых люков, отсоединяют от щеточного аппарата соединительные проводники, поднимают щеткодержатели или вынимают щетки, коллектор обвертывают электрокартоном и закрепляют его бандажами. Щеточное устройство в двигателях постоянного тока отсоединяют от подшипникового щита. В асинхронных двигателях с контактными кольцами отпаивают выводные концы и съемником стягивают с вала контактные кольца. В подшипниковых щитах вынимают пружинное кольцо из канавки вала и снимают наружные уплотняющие кольца.
Снимают также наружные вентиляторы, если они имеются. Из корпусов подшипников скольжения выпускают масло. Измеряют воздушные зазоры и зазоры в подшипниках, если они не измерены ранее. Кроме того, контролируют взаимное расположение сердечников ротора и статора в осевом направлении.
Обычно сначала снимают передний щит, в котором расположено щеточное устройство. Вывертывают крепежные болты, соединяющие щит с корпусом. Плохо поддающиеся резьбовые соединения смачивают на несколько часов керосином. Удалив все крепежные болты и постепенно ввертывая отжимные болты в специально предусмотренные отверстия, выводят щит из центрирующей расточки корпуса. Конец вала со стороны снимаемого щита должен быть при этом расположен на опоре.
При сравнительно небольших массах ротора в междужелезное пространство закладывают листы электротехнического картона, предупреждая повреждение активной стали ротора и статора. После отжима щита от корпуса дальнейшее перемещение щита и съем его с подшипника проводят монтировками, действуя ими сразу в двух, диаметрально расположенных точках.
В двигателях с подшипниками скольжения перед снятием щита ротор необходимо повернуть шпоночной канавкой вниз, чтобы не повредить ею поверхность вкладыша.
Тяжелые подшипниковые щиты при снятии поддерживают на весу с помощью грузоподъемных устройств. При строповке щита обеспечивают его равновесие в вертикальном положении. Легкие подшипниковые щиты электродвигателей малой мощности снимают вручную;
Выемка ротора
После снятия подшипниковых щитов ротор обычно остается лежащим внутри статора на прокладке из электротехнического картона. Выемка ротора из статора является одной из наиболее ответственных операций общей разборки. Сложность этой операции для машин переменного тока обусловлена небольшим воздушным зазором. В крупных машинах массы роторов достигают нескольких тонн, что требует применения грузоподъемных устройств или громоздких приспособлений.
При выемке ротора с помощью грузоподъемных устройств длина стропа должна быть не менее четырехкратной длины вала ротора. Особое внимание должно быть уделено надежности фиксации стропов на крюке грузоподъемного устройства и на концах вала ротора.
Во всех случаях выемки ротора необходимо исключить задевание ротора за статор или за его обмотку. Стропы не должны располагаться на рабочих поверхностях шипов (шеек) вала и касаться обмоток, вентилятора и др. Для предохранения от деформации натянутыми стропами шипы вала обвертывают шектрокартоном в несколько слоев. Лобовые части обмоток покрывают электрокартоном, а от соприкосновения со стропами предохраняют прокладкой деревянным брусом между станиной и стропом.

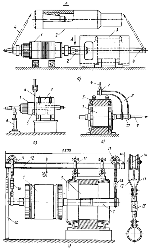
Рис. 100. Способы выемки ротора с помощью удлинителя вала (а), с перестроповкой (б), с помощью скобы (в), с помощью консольного приспособления (г):
1 - ротор: 2 — удлинитель; 3 — статор: 4 — строи; 5 — картонная прокладка; 6 - домкрат; 7 — серьга; 8 — скоба; 9 - хвостовик для направления хода ротора вручную; 10 — втулка; 11 — опорный каток; 12 - консольная балка; 13 — прижим; 14 - колеса; 15 - подвесной домкрат; 16— стойка.
Среди различных способов выемки ротора наиболее часто применяют выемку с удлинителем вала (рис. 100, а), выемку с перестроповкой за бочку ротора (рис. 100,6), выемку с помощью скобы (рис. 100, в) и выемку с помощью консольной балки (рис. 100, г). Первые два способа применяют для быстроходных роторов, отличающихся большей длиной при меньшем диаметре. Третий способ имеет преимущество при коротких роторах большого диаметра. Четвертый способ применяют при отсутствии грузоподъемных средств.
При выемке роторов зазор по окружности контролируют по размеру просвета, помещая с противоположного торца осветительную лампу. Вынутый ротор размещают на козлах или на шпальных выкладках.
На этом общая разборка заканчивается. Сборочные единицы электродвигателя дополнительно и тщательно сначала очищают насухо, затем продувают сжатым воздухом и промывают. После этого внимательно осматривают и при необходимости производят подетальную разборку.
Удаление обмоток из пазов сердечников
Удаление обмоток из пазов сердечников проводят после определения их конструкции схем и наличия по ним обмоточных данных в типовых альбомах, которыми располагает ЭРЦ. В случае отсутствия таких данных они должны быть сняты со старой обмотки: с натуры зарисовывают точную схему обмотки, подсчитывают число витков в секции (катушке), число параллельных проводников в витке, число секций (катушек) в группе, число групп, шаг обмотки по пазам (по коллектору), определяют марку и диаметр (размеры) обмоточного провода по изоляции и по проводнику, размеры и материал изоляции, длину паза и клина, схемы бандажей, размеры и форму катушек, их лобовых частей и т. д.
Обмотки статоров с полузакрытыми пазами, проводники которых использовать повторно невозможно или нецелесообразно, удаляют, разрезая лобовые части с одной стороны и выдергивая их из пазов с другой стороны в осевом направлении с помощью ручных или стационарных лебедок. Для облегчения удаления обмоток их изоляцию выжигают при температуре 350 — 400 °С в герметичных электропечах в течение 4 — 6 часов При отсутствии специальных печей изоляцию выжигают, пропуская через обмотку ток от сварочных аппаратов при напряжении до 42 В. Можно использовать и сварочные трансформаторы (но при этом необходимо следить за тем, чтобы не было перегрева короткозамкнутых витков или участков в поврежденной обмотке).
Демонтаж обмоток якорей и роторов, выполненных из стержневых проводников, начинают со снятия бандажей: с помощью зубила разгибают замки бандажей, затем разматывают и удаляют бандажную проволоку. С помощью выколотки или пневмомолотком с выколоткой из пазов удаляют клинья и распаивают присоединения обмотки якоря к коллектору или места паек в хомутиках стержней обмотки ротора. После этого изогнутые стержни обмоток выпрямляют и вытягивают обмотки из пазов так же, как и обмотки статоров.
Обмотки роторов, намотанные круглым проводом впротяжку, удаляют с выжиганием изоляции по технологии выемки мягких обмоток статора. При распайке соединений обмоток используют газовые горелки. Коллекторы предохраняют от воздействия пламени, обвертывая листовым асбестом.
Разборка явнополюсного ротора синхронной машины: сначала снимают соединения между катушками полюсов и отвёртывают винты крепления полюсов к втулке, после этого снимают полюсы вместе с катушками. До начала разборки нумеруют полюсы и отмечают на втулке места их крепления. Это делается для того, чтобы после сборки машины не нарушить балансировку ротора;
Очистка и промывка деталей
После удаления обмоток пазы сердечников обычно остаются загрязненными остатками изоляции. Пазы очищают в зависимости от их конструкции ручным или механизированным способом. В качестве инструмента применяют напильники, стальные щетки, различные скребки, протяжки (инструмент с режущими кромками, в поперечном сечении повторяющий форму паза). При механизированной зачистке используют малогабаритные шлифовальные круги, пальцевые фрезы, круглые стальные щетки, устанавливая их в пневмоприводные инструменты.
Особой тщательности требует очистка остающихся, т. е. пригодных для дальнейшей эксплуатации обмоток. Загустевшие загрязнения сначала удаляют деревянными или пластмассовыми скребками или лопатками, после чего насухо протирают чистой тканью. После тщательного удаления пыли и грязи всухую, обмотки продувают сжатым воздухом. Продувку ведут от середины статора к лобовым частям чистым и сухим воздухом под давлением около 0,25 МПа, направляя струю воздуха вдоль паза наружу под углом около 30е. Большую опасность для изоляции и пропиточных составов обмоток представляет масло из-за его разъедающих свойств. В смеси с пылью, особенно тонкой и обладающей некоторой абразивностью, масло хорошо удерживается даже на гладких поверхностях. Масло с обмоток удаляют тщательной протиркой изоляции чистой тканью, смоченной в растворителе, а затем — сухой тканью. Вентиляционные каналы сердечника промывают от масляной грязи растворителем с использованием краскопультов. Промывку ведут небольшими участками, удаляя жидкость на доступных местах насухо чистой ветошью. Труднодоступные места после увлажнения интенсивно продувают сжатым воздухом. Работы такого рода следует проводить при строгом соблюдении требований противопожарной техники и под наблюдением ответственного лица.
Подшипники качения при сильном загрязнении промывают в течение 20 мин в ванне с горячим (95°) минеральным маслом, обсушивают (5 мин) и повторно промывают смесью растворителя с 6 —8% (по объему) минерального масла. Промытые и высушенные детали для предохранения от коррозии покрывают тонким слоем машинного масла.
Сборка электродвигателя после разборки
Сборку электродвигателя после разборки нужно проводить в обратной последовательности.
Сначала в пазы статора укладывают отремонтированную или новую обмотку и бандажируют ее. Затем в сердечник ротора вставляют обмотку и устанавливают на вал.
После этого в сборе устанавливают подшипниковые щиты, контролируя отсутствие перекосов. На вал напрессовывают коллектор или контактные кольца. Подключают обмотки и устанавливают щетки.
Проверка после сборки электродвигателя
Перед включением собранного электродвигателя проводят проверки:
- Измерение сопротивления изоляции обмоток
- Контроль осевого и радиального люфта в подшипниках
- Проверка соосности вала и зазоров в магнитопроводе
- Испытание на холостом ходу
